Arbeitet Nikon an einer spiegellosen Vollformatkamera mit Curved Sensor? Möglich, denn nun ist ein entsprechendes Patent aufgetaucht.
Nikon Vollformatkamera mit Curved Sensor?
In den letzten Tagen hat Nikon mehrfach bestätigt, dass aktuell an einer neuen DSLM gearbeitet wird. Und nicht nur das, Nikon hat den Mund teilweise auch ziemlich voll genommen. So hat Nikons Präsident in einem Interview beispielsweise angedeutet, dass man mit der eigenen neuen DSLM die Konkurrenz hinter sich lassen wolle und dass die Objektive eine exzellente Qualität vorweisen sollen.
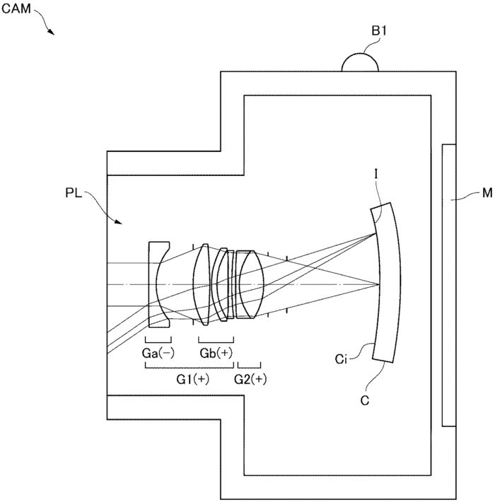
Nun gibt es neue Hinweise darauf, wie denn Nikons neue DSLM aussehen könnte. Es ist nämlich ein Patent für ein 35mm f/2.0 Objektiv aufgetaucht, welches an einer spiegellosen Vollformatkamera mit einem Curved Sensor Platz finden soll! Das Patent wurde erst gestern publik gemacht, es kann aber natürlich schon vor längerer Zeit eingereicht worden sein.
Was ist ein Curved Sensor?
Ein Curved Sensor – also ein leicht gebogener Sensor – hat in der Theorie gegenüber einem herkömmlichen Sensor einige Vorteile. So wäre es beispielsweise möglich, wesentlich kompaktere Objektive zu bauen, die zudem bei gleicher Größe auch lichtstärker sind. Außerdem würde ein Curved Sensor auch dazu führen, dass die Bilder wirklich bis in die Ecken hinein scharf sind, ohne Vignettierung.
Vor Jahren gab es schon einmal zahlreiche Gerüchte zu einem Curved Sensor von Sony, eine entsprechende Kamera ist bisher allerdings nicht auf den Markt kommen (mal abgesehen von der KW1-Selfiekamera) Möglich, dass die Technik einfach noch nicht soweit war.
Wie wahrscheinlich ist eine solche neue Nikon DSLM?
Ein Patent ist generell nie ein verlässliches Hinweis darauf, dass ein entsprechendes Produkt auch wirklich auf den Markt kommt, ganz im Gegenteil. Viele Patente werden eingerereicht und man hört danach nie wieder etwas von ihnen. Doch eine spiegellose Vollformatkamera von Nikon mit einem Curved Sensor würde zumindest zu den Ankündigungen der letzten Zeit passen. Denn wenn der Curved Sensor in Kombination mit neuen Objektiven wirklich große Vorteile mit sich bringt und die Kamera auch in jeder anderen Hinsicht zu überzeugen weiß, dann könnte Nikon hier vielleicht doch noch der späte Einstieg in dieses Segment gelingen.
Trotzdem ist bei diesem Gerüchte in jedem Fall Vorsicht geboten. Es ist noch viel zu früh, um sich sicher zu sein, dass Nikon irgendwann eine spiegellose Vollformatkamera mit Curved Sensor auf den Markt bringen wird.
Quelle: Mirrorlessrumors



Wäre schön wenn die alten Schlachtrösser Nikon und Canon doch noch die Kurve in die Neuzeit bekämen und den Abstand zur Konkurrenz und vor allem zu den Smartphones deutlich vergrössern. Komme gerade aus dem Urlaub und habe im ganzen Ort in dem wir gelebt haben ausser mir nur noch fünf (5) Personen gesehen die noch mit einer echten Kamera fotografierten, alle anderen haben nur noch das Handy gezückt. Hatte im Übrigen noch die neueste Allwetterkamera von Olympus (Tough TG-5) dabei und war erstaunt welche Video- und Fotoqualität sie mit einem 2/3 Zoll Sensor unter Wasser hinbekommt. Wäre vielleicht auch mal einen Bericht wert!
Hallo Joe! Hoffe du hattest einen schönen Urlaub 🙂 Oh ja, die Olympus TG-5 habe ich gerade letzte Woche nochmal auf meine Liste geschrieben! Versuche demnächst etwas dazu zu schreiben, wenn ich es zeitlich schaffe. (Zeit ist bei mir immer das größte Problem.)
Wenn Du es Zeitlich schaffst, dann wünsche ich mir doch gleich einen Vergleich mit der neuen Nikon W300.
Viele Grüße aus Flensburg
Ich fürchte der curved Sensor wir eine weitere Nutzung bisheriger Linsen eerschweren oder gar unmögliich machen, von Drittherstellern, die auf diesen Zug vielleicht gar nicht erst aufsteigen wollen, mal ganz abgesehen. Ich denke dieses Alleinstellungsmerkmal ist eher ein weiterer Schuss in den Ofen, wie die bisherige D-SLM Serie mit dem 1Zoll Sensor.
LG Wolf
Bei einer Festbrennweite als „Konkurrenz“ zur Leica Q beispielsweise wäre das egal. Nur mit Wechselbajonett gäbs sicher Probleme.
Und welche Vorstellungen haben Sie, wie viel Leute das kaufen werden und welcher Preis dazu kalkuliert werden muss?
Ich nehme diese Meldung nicht weiter Ernst.
Da läuft so unter der Rubrik:
Auch dann im Gespräch bleiben, wenn man gerade nichts anderes als Stillstand zu bieten hat.
Klingt ja alles ganz toll, aber hoffentlich nicht mit einem neuen Mount, das wäre die schlechteste aller Lösungen. Eine spiegellose-vollformat-knipse mit F-Mount würden sich wahrscheinlich viele kaufen (ich auch) aber bei einem neuen Mount sähe das schon ganz anders aus.
Wie kriegt man krumme Bilder ohne Verzeichnung auf Paper?
Das klingt ein bisschen ironisch..:)
Keine Ironie, Parodie!
Wo ist das Problem? Für Nikon wird demnächst eine Patentanmeldung für gekrümmtes Papier veröffentlicht werden, mit diesem kriegt man die Bilder ohne Probleme 1:1 auf´s Papier :-).
haha 🙂
Man kann ganz normales Papier nehmen. Muss nur einen Drucker haben, in dem es gebogen bedruckt wird. Dann ist es okay. Wenn man es aber aus dem Drucker nimmt und dann plan hinlegt, werden durch die andersartige Projektion Teile unscharf. Für gekrümmte Monitore aber optimal!
Um die gebogenen Fotos scharf ausdrucken zu können, braucht man einen Drucker, der ähnlich gebaut ist wie ein Trommelscanner. Oder er druckt dreidimensional auf eine plane Ebene. Ähnlich wie bereits existente 3-D-Drucker.
Es handelt sich nicht um ein Patent sondern lediglich um eine japanische Patentanmeldung, die im Jahr 2016 eingereicht und nach 18 Monaten publiziert wurde. Hier ist ein Link zur Datenbank des japanischen Patentamts:
https://www.j-platpat.inpit.go.jp/web/PU/JPA_H29125904/TKBS_GM302_Detailed.action
In Japan existiert ähnlich wie in Deutschland ein Arbeitnehmererfindergesetz, das im Ergebnis die Unternehmen dazu zwingt, jede von einem Arbeitnehmer gemachte Erfindung zum Patent anzumelden, oder sie dem Erfinder frei zu geben. Aufgrund dieser Situation kann man deshalb in keinster Weise aus der Veröffentlichung einer Patentanmeldung eines japanischen Unternehmens daraus schliessen, dass sich dieses Unternehmen tatsächlich und ernsthaft mit einer solchen Entwicklung beschäftigt. Es kann sein, muss aber bei weitem nicht sein. Einen anderen Schluss kann man dann ziehen, wenn für die Erfindung ausserhalb Japans weitere Patentanmeldungen auftauchen sollten. Die Kosten hierfür wenden japanische Unternehmen idR nur dann auf, wenn man für ein Produkt umfassenden Patentschutz anstrebt.
Die Anmeldung bezieht sich nach meinem Verständnis auf die Kombination eines Objektivs einer bestimmten Brennweite mit dem gekrümmten Sensor. Der Vorteil eines solchen Systems liegt nach meinem Verständnis vor allem darin, dass der Auftreffwinkel der Lichtstrahlen auf der gesamten Sensorfläche konstant gehalten werden kann. Optimale Bedingungen dürfte man aber nur dann erreichen, wenn die Krümmung des Sensors auf die Brennweite abgestimmt ist. Je größer die Abweichung der Brennweite von der optimalen Brennweite für den jeweiligen Krümmungswinkel, desto geringer ist der Vorteil bzw. er ist sehr bald gar nicht mehr vorhanden. Nach meinem Verständnis macht ein gekrümmter Sensor nur mit einer Festbrennweite Sinn, also mit einer fest verbauten Festbrennweite. Wieso sich ein solcher Sensor dann vor allem für eine DSLM eignen soll, erschliesst sich mir auch nicht. Er wäre genau so für Spiegelreflexkameras geeignet, wenn man eben hinnimmt, dass sich der Sensor eigentlich nur für eine bestimmte Brennweite oder nur einen begrenzten Brennweitenbereich besonders eignet.
Ich habe gerade bemerkt, dass der Link nicht funktioniert. Hier ein Link zur Suchmaske
https://www4.j-platpat.inpit.go.jp/eng/tokujitsu/tkbs_en/TKBS_EN_GM101_Top.action
Wen es interessiert, In das mittlere Feld muss man 2017-125904 eingeben und abschicken um zur Patentanmeldung zu gelangen.
Eine englische Maschinenübersetzung kann man sich auch anfertigen lassen. Hier ist ein Link zu einer solchen Übersetzung, ich hoffe, er funktioniert:
https://www4.j-platpat.inpit.go.jp/cgi-bin/tran_web_cgi_ejje?u=http://www4.j-platpat.inpit.go.jp/eng/translation/2017072207125715058619900246179818BA7018D757A908AA846AC1D86144FE
Schon zu analogen Zeiten
gab es Luftbild (Aufklärung) Kameras wo rundes Filmmaterial in eine gebogene Andruckplatte per Unterdruck „hineingebogen“ wurden. Natürlich wurden für die Bilder Festbrennweiten benutzt. Das war damals die einzige Möglichkeit genaue kartografische Abbildungen zu erzeugen.
Als Neuigkeit kann ein gebogener Sensor also nicht durchgehen. Echte Innovation wäre ein biegsamer und gleichzeitig axial beweglicher Sensor der sich an die Eigenheiten der verwendeten Objektive anpasst. Der Autofokus, die Biegung der Sensors und die Bildstabilisierung passen sich an. Das ist die eigentliche Vorstellung hinter dieser Technik.
Viele Patente wurden eingereicht und wir hörten danach nie wieder etwas von ihnen… 🙁
Nikon ist ein traditionelle Kamerahersteller mit guten Produkten.I
Ich glaube fest daran,dass Nikon demnächst eine gute lang erwartenene
Kamera auf dem Markt bringen wird. Eine neue spiegellose Kamera mit F-Mount
wäre ein Hammer !