Patente zeigen, dass Canon derzeit aktiv an einem Hybrid-Sucher und an beleuchteten Buttons für zukünftige Kameras arbeitet.
Neue Patente von Canon
Wenn Patente geleakt oder auf entsprechenden Seiten veröffentlicht werden, dann gewähren uns diese stets einen Einblick, an welchen neuen Technologien die jeweiligen Hersteller aktuell arbeiten. Natürlich schafft es nicht jede neue Idee auch wirklich in ein fertiges Produkt, doch gerade wenn über einen längeren Zeitraum mehrere Patente zur gleichen Technologie auftauchen, dann stehen die Chancen nicht allzu schlecht, dass früher oder später auch ein entsprechendes Produkt vorgestellt wird.
Hybrid-Sucher bei zukünftigen Kameras?
Nun sind neue Patente zu einem Hybrid-Sucher von Canon aufgetaucht. Schon in der Vergangenheit gab es hier Gerüchte und Patente, Canon scheint diese Technologie also für recht vielversprechend zu halten.
Was ein Hybrid-Sucher ist? Ganz kurz erklärt handelt es sich hierbei um einen Sucher, bei dem man zwischen einem optischen Sucher (also einem OVF) und einem elektronischen Sucher (EVF) hin und her wechseln kann. Beide Systeme haben grundlegend Vor- und Nachteile, weshalb es auch immer wieder Diskussionen gibt, ob nun eine DSLM mit einem elektronischen oder eine DSLR mit einem optischen Sucher die bessere Wahl ist. Bei einem Hybrid-Sucher würde sich diese Frage nicht mehr stellen, da man einfach je nach Situation den geeigneteren Sucher wählen kann.

Auch von Nikon gab es bereits Patente zu einem Hybrid-Sucher und zwischenzeitlich hatte man mal vermutet, dass die Nikon D850 mit einem solchen Hybrid-Sucher ausgestattet sein könnte.
Beleuchtete Buttons
Des Weiteren arbeitet Canon auch noch an einer Technologie für beleuchtete Buttons. Das kennt man bereits von Modellen wie der Nikon D850 oder von Pentax Kameras, dementsprechend ist es absolut naheliegend, dass Canon da früher oder später mitziehen wird – vor allem weil beleuchtete Buttons ja nur Vorteile mit sich bringen. Eine der ersten Kameras, die mit beleuchteten Buttons auf den Markt kommen könnte, ist die Canon EOS 7D Mark III.
Was würdet ihr von einem Hybrid-Sucher und beleuchteten Buttons halten?


Wenn man seine Kamera nicht Blind bedienen kann sollte man im Automatikmodus fotografieren.
Was für ein Unsinn!
WAHNSINN mehr kann ich dazu nicht sagen, mir fehlen gerade die Worte ?
Ich zitiere mal Wikipedia:
„Die E-620 ist zudem die erste DSLR-Kamera, die beleuchtete Tasten für die Bedienung im Dunkeln hat.“
Nach 8 Jahren meldet Canon auch ein Patent dazu an ???
Mirko,
hat dich deine erste grosse Liebe wegen einem Canon user verlassen? Oder warum dieser Verfolgungswahn. Patent ist nicht Patent. (Achtung: ich mag dich trotzdem!!!)
Joe,
Du kannst aber auch mit wenig Worten sehr viel Mist schreiben ?
und nun freue Dich das zukünftig Canons Button nach Patent xy beleuchtet sind und nicht auf Olympus zurückgreifen müssen….
@ Mirko
Eigentlich wollte ich mit meiner vorherigen Anmerkung noch einigermassen freundlich sein und es witzig rüberbringen, aber es tut mir leid, jetzt muss ich es so deutlich sagen, aber Du hast keine Ahnung, und zwar NullkommaNull-Ahnung – und Du bist hier leider nicht alleine – was ein Patent ist und wann es erteilt wird. Hier reden wirklich die Blinden über die Farbe. Redet weiter über Fotografie und Kameras, davon versteht ihr vielleicht etwas mehr. Patente werden nur erteilt, wenn es sich um schützenswerte Neuerfindungen handelt, die in dieser Form noch nicht patentiert sind und noch nicht existieren. Also die Erfindung von Fuji oder von XY hat nichts mit der von Canon zu tun. Mit diesen Kommentaren hier haben sich einige blossgestellt, einfach mal einen negativen Post raushauen weil es sich um Canon handelt. Ich bin hier auf diesem Forum nicht, weil ich Canon verteidigen will oder ein DSLR-Gläubiger bin, sondern will Neues erfahren und über neue Entwicklungen diskutieren. Da gibt es durchaus kontroverse Meinungen, das ist auch ok, aber bei Manchem hier ist es ein Sport, sobald das Wort Canon erscheint kommt ein unqualifizierter negativer Post. Und wenn jemand etwas kritisches über andere Marken äussert, werden nicht Argumente ausgetauscht, sondern dann kommt das beliebte Totschlag-Argument: das ist ein unbelehrbarer/enttäuschter oder was auch immer Canikonianer. Canikonianer zeichnen sich in der Regel dadurch aus, dass sie Fotografie Ernst nehmen und sich die Dinge die sie sich kaufen auch locker leisten können.
Wäre ich enttäuscht mit dem was ich habe und fände ich irgendein System besser als das mit dem ich momentan fotografiere, dann wäre es für mich ein Leichtes mir das zu kaufen. Ich lebe als Deutscher in der Schweiz, nicht weil es ein armes Land ist, sondern weil ich als Akademiker hier das doppelte verdiene wie in Deutschland und dazu noch weniger Steuern bezahle. Dazu sind die Kameras und Objektive auch noch billiger. Nochmal: Canikonianer sind nicht dümmer als Sony, Fuji oder was auch immer Nutzer und sie können sich das was sie haben auch leisten!
…ach Joe, ich war wirklich am überlegen ob ich überhaupt antworten soll da ich das Gefühl habe mir sitzt ein 12 jähriger Junge der gerade schmollt und bockt gegenüber und kein Akademiker ?
Zur deiner witzigen Frage ob meine erste große Liebe mich wegen einem Canon User verlassen hat, dazu kann ich Dir sagen a) zur dieser Zeit gab es noch kein Internet und b) das Canon EOS System war noch nicht geboren ( jetzt hast aber was zum rechnen)
Danke auch für deinen Lebenslauf aber ehrlich gesagt ist es mir sch…egal ob Du Müllmann oder Akademiker bist oder ob Du in Österreich,Chile oder Rußland lebst ( man gehen mir Wichtigtuer auf die Nüsse) aber halt, ich lebte 10 Jahre in Schweden zählt das auch ?
Du hast natürlich recht….ICH KANN MIR KEINE CANON LEISTEN und aus Frust schreibe ich immer von CaNikon ? Apropo CaNikon, es gibt ein Forum namens CaNikon.de dort war ich vor Jahren aktiv vielleicht wird es noch betrieben dort wärst Du unter deines gleichen und wirst nicht von unfähigen Sony,Fuji,Olympus,Panasonic Usern blöd vollgelullt ?
Und nun lieber Fachmann für Patentfragen freuen wir uns ALLE das bei Canon in Zukunft auch die Schalter & Taster im dunklen leuchten werden ???
In diesen Sinne noch einen schönen Montagabend….
Ich will mich ja nicht in das Streitgespräch zwischen Euch einmischen, sondern nur etwas erläutern, denn Ihr geht von etwas aus, was gar nicht Fakt ist. Laut canonrumors, was vermutlich auch Marks Quelle ist, handelt es sich bei dem „Tastenpatent“ gar nicht um ein Patent sondern um eine ungeprüfte Patentanmeldung. Ob diese jemals erteilt wird steht in den Sternen. Ich habe versucht die japanische Anmeldung zu finden, um sie dann ins Englische übersetzen zu lassen, was mir aber nicht gelang. Der Link auf canonrumors geht ins Leere und die Anmeldenummer, die man dem Link entnehmen kann, betrifft eine Patentanmeldung von Dassault zum Thema Finite Elemente.
Ich vermute, Canon kennt die Kameras, die bereits beleuchtete Tasten haben/hatten und meldet nicht beleuchtete Tasten an sich an. Genauso wie es vermutlich Hundertausende Anmeldungen zum Thema Auto gibt, obwohl der Motorwagen von Benz auch mal als erste Patentanmeldung für ein Auto eingereicht wurde, wird Canon wohl versuchen Verbesserungen oder andere Beleuchtungstechnologien als bei vorbekannten Kameras anzumelden. Es gibt also meiner Ansicht nach keinen Grund, schon gar nicht solange man gar nicht weiss, was genau Canon angemeldet hat, sich über Canon lustig zu machen. Einfach mal abwarten, was Canon sich überlegt hat, möglicherweise ist es eine Peanutsanmeldung, eventuell ist es aber auch ein echter Fortschritt.
Ach ja, noch am Rande. Ähnlich wie in Deutschland existiert auch in Japan ein Arbeitnehmererfindungsgesetz, in dem ein Arbeitgeber mehr oder weniger die Pflicht zugeordnet ist, einer von einem Arbeitnehmer gemeldete sog. Diensterfindung zum Patent anzumelden. Canon MUSS also anmelden, wenn ein Angestellter Canon eine solche Erfindung gemeldet hat, sofern man selbst keinen entgegenstehenden Stand der Technik nennen kann, der die Erfindung vorwegnimmt. Ob Canon an einer solchen Technologie tatsächlich Interesse hat, kann man somit alleine aufgrund der Existenz einer japanischen Patentanmeldung gar nicht ablesen. Interessant wird es nämlich erst, wenn man feststellt, dass ein japanisches Unternehmen für die gleiche Erfindung nicht nur in Japan sondern auch im Ausland Patentanmeldungen eingereicht und dafür das Geld in die Hand genommen hat. Das ist dann regelmässig das Zeichen dafür, dass das Unternehmen tatsächlich in diese Richtung seine Produkte entwickelt.
Bei weiteren Fragen und Problemen zu Patenten gebe ich gerne und (ausnahmsweise) kostenlos Auskunft 😉
@ Mirko,
Schade, dass ich nicht mehr 12 Jahre alt bin wie du mir unterstellst, denn in dem Alter ist man noch nicht so verbohrt und verbissen und muss seinen Frust nicht an einer Person, Firma oder Sache rauslassen so wie Du es bei Canonikon tust. Ich finde es übrigens toll dass Du in Schweden gelebt hast und mache mich weder über deine Bildung, deinen Wohlstand oder sonst etwas lustig. Ich schreibe nie abfällig über eine andere Marke, ich kritisiere wenn es etwas zu kritisieren gibt, aber Du und andere hier bringen immer die selbe Story was Canon alles nicht kann und wieder mal falsch macht, obwohl das gar nicht die Frage oder das Thema ist und es stimmt oft gar nicht. Es langweilt inzwischen nur noch. Und wenn man hier beim Patente Thema wieder die gleiche Leier bringt, und die auch noch absolut falsch ist, dann musst du, nachdem ich es freundlich versucht habe, damit rechnen, dass ich dann auch mal Tacheles rede. Im Übrigen wollte ich mit meinem Wohlstand hier nicht prahlen – Danke Gott, dass er mich in die Schweiz geholt hat – sondern klar stellen, dass ich mir jedes Format/Fotofirma leisten könnte, wenn ich wollte. Aber ich bin mit dem zufrieden was ich habe, also mit Canon, aber das muss nicht auf ewig so bleiben, ich hatte in der Analogzeit schon Ashai Pentax, diverse Nikons, eine Olympus eine Panasonic Bridge und als es digitales VF zu halbwegs vernünftigem Preis gab wurde es Canon, hätte Nikon zu der zeit etwas ähnliches gebracht wie die 5D Mk II wäre ich bei Nikon. Das kann sich in zwei Jahren ändern, kann aber auch so bleiben. Aber hört endlich mit dem doofen defätistischen Gequatsche auf. Ich habe noch nie gesagt, dass irgendeine Kamera oder Marke schlecht ist, mir persönlich liegt zum Beispiel Sony überhaupt nicht, Nikon oder Fuji oder sogar Panasonic wären für mich theoretisch Optionen, aber im Moment kein Thema. Für mich ist die Sache damit erledigt, wenn Du dich noch dazu äussern willst, höre ich dir gerne zu, aber wie gesagt ich werde egal was Du schreibst nicht mehr darauf reagieren.
„höre ich dir gerne zu, aber wie gesagt ich werde egal was Du schreibst nicht mehr darauf reagieren.“
DANKE ?
„Ich schreibe nie abfällig über eine andere Marke“
laut deinen Worten ist bei der Liste von NG keine vernünftige Kamera dabei ?
Und wenn ich schreibe bei „CaNikon“ hat bei DX bzw EF-S Objektiven für mich nichts zu bieten dann mache ich die Firmen nicht schlecht aber sie bieten halt nur ein 17-55 f 2.8 an, für Dich mag es ok sein ich finde es peinlich!!!
Wieder wahnsinnige Neuerungen von Canon….. tja… was soll’s, die A7 R III ist bestellt. Vielleicht gelingt Canon ja mit der 5DsMK II wieder eine Innovation…hoffentlich nicht mit einen von Canon selbst „neu entwickelten“ Sensor..???
Canon arbeitet an einem Hybrid-Sucher. Fuji hat ihn schon seit fast zwei Jahren in der X-Pro 2 verbaut. Tolle Sache.
Falsch….den Hybrid Sucher hatte schon die X Pro1 und die kam, glaube ich, 2012 auf den Markt ?
die fuji x100 hat seit 2010 einen hybridsucher. 😉
Der optische Sucher der Xpro Serie hat doch sehr wenig mit dem optischen Sucher einer Spiegelreflexkamera zu tun, meint ihr nicht…?!
selbstverständlich ist der unterschied zwischen einer messsucherkamera und einer spiegelreflexkamera, die optisch genutzt werden, nicht zu leugnen. lässt sich leicht die frage anstoßen, ob die messsucherkamera oder die spiegelreflex besser ist.
bei optischer messsucherkamera verliert man niemals durch einen verschluss das objekt aus den augen. bei einer kompakten messsucherkamera hat man sogar einen zentralverschluss. nimmt man eine spiegelreflexkamera, hat man immer das bild vor augen was tatsächlich aufgenommen wird. dieser vorteil hebt sich teilweise in dem moment auf, wo man die digitale optik zuschaltet. wer kennt weitere vor und nachteile der jeweiligen systeme?
Max,
na klar sind da Unterschiede vorhanden darum ging es wohl letztendlich auch nicht…
Es gibt ja hier einige User die sich von Canon bzw. Nikon ( sprich CaNikon) eine DSLM mit KB Format wünschen, dieses Modell sollte aber die Größe und Griffigkeit jetziger DSLR beibehalten und keine „Seifenstücke“ ( wie es manch einer hier so sagt) werden. Mit dieser „Zwitterkamera“ könnte Canon wohl einige befriedigen und somit einen eigenen Weg einschlagen
Hört sich auf jedenfall schon mal gut an. Könnte interessant werden.
es fallen mir zwar keine Nachteile zu beleuchteten Buttons ein, aber wichtig ist, daß das Schulterdisplay belichtet werden kann und die Buttons sollte man „blind“ bedienen können – ich möchte die Kamera nicht zum vom „Auge“ nehmen müssen.
Ein Hybridsucher fände ich eine spannende Ergänzung
Den schönsten und größten elektronischen Sucher hat die Fuji GFX 50s. Da passt der Einblick und schwenkbar ist er außerdem. Er hat aber immer noch die Nachteile aus diesem System.
Mein zweit liebster ist der Hybrid Sucher aus der Fuji X-pro2. Der hat allerdings nichts mit einem Prismen Sucher gemein.
Wer mit einem großen, hellen 100% Vollformat Spiegelsucher und lichtstarken Festbrennweiten gearbeitet hat möchte nichts anderes wenn es sich machen lässt. Der Grund ist sehr einfach, man sieht die unverfälschten Kontraste und die komplette Farbtiefe ohne elektronischem Umweg. Ich sehe das Bild so wie es später auf dem Rechner zu bewundern ist. Der hat für mich immer noch den Platz EINS.
Wie Canon trotz Spiegel einen Hybrid Sucher bauen will ist mir ein Rätsel. Mir wäre ein Sensor neuester Bauart lieber.
Ich denke Canon wird es so bauen, dass man umschalten kann, von Optisch auf Elektronisch. Im E-Modus wird dann der Spiegel hochgeklappt sein und man bekommt das Live-View Bild eingeblendet.
Ich hab auch schon mit einem großen 100% optischen Sucher und lichtstarken Festbrennweiten gearbeitet, das ist zwar ganz schön, ich möchte aber dennoch nicht wieder dahin zurück. Für mich sind die Vorteile des EVF deutlich überlegen, allein schon beim manuellen Fokussieren (Lupe und Fokus-Peaking) und dass ich die Auswirkung meiner Einstellungsänderungen sofort sehe.
Alfred,
„hell ist immer relativ“ es gibt immer noch Fotografen die ihre Mattscheibe austauschen und Canon hat auch genügend zur Auswahl.
Helle Mattscheiben werden Standardmäßig eingesetzt a) wegen AF b) da heutzutage Kitobjektive nicht gerade lichtstark sind und es somit „dunkel im Sucher“ wird…
hier mal eine Rezension von Amazon,
Zur Beurteilung des Schärfeverlaufs bei lichtstarken Objektiven war die EG-S für mich nach dem ersten Einsetzen ein richtiger „Augenöffner“. Endlich passt die Bildwirkung bei Effenblende zu dem im Sucher Gesehenen. Zudem erlaubt die Scheibe eine sinnvolle Fokussierung manueller Optiken.
Der Verlust an Helligkeit beschränkt den Einsatz auf Objektive mit einer Arbeitsblende von f/2.8. Wie schon von eimem anderen Rezensenten geschrieben, ist ein Objektiv mit Blende 4 bei guten Lichtbedingungen möglich, hier würde ich aber eher auf die anderen Mattscheiben ausweichen.“
Alles hat seine Vor/Nachteile
Alter Hut..
Spiegel nach oben klappen und auf einem Monitor das Live Bild betrachten. Oder den wirklich guten DigiFinder ProX Lichtschacht + Linse 8,4cm (3,2″) auf das Kamera Display anbringen finde ich üblich aber nicht Patent würdig.
Das kann es wohl nicht sein, da muss mehr dahinter stecken.
Apropos digitale Lupe und Fokus-Peaking. Beides eine gute Sache die ich gerne selbst nutze. Auch das wunderbar helle Sucher Bild, egal welche dunkle Scherbe vor dem Sensor sitzt, ist im ersten Moment reizvoll, aber es zeigt nicht die wahren Kontrastverhältnisse und die korrekten Farben des zu fotografierenden Objektes. Im Studio ist das egal weil ich am geeichten Monitor das Bild meiner geeichten Kamera sehr gut und getreu beurteilen kann.
Aber in freier Wildbahn sehe ich so gut wie nichts (außer dem Objekt vor der Linse) im elektronischem Sucher was die feine Darstellung betrifft, ich muss mich auf die voreingestellten Werte verlassen ohne diese kontrollieren zu können. Ist auch im zeitlichen Stress vor Ort nicht möglich.
Da ist mir dann ein ehrliches Mattscheiben Bild lieber selbst dann wenn die Einstellerei schwieriger ist.
Kann man nur hoffen, dass das wirklich schon in der 7d m3 drinnen ist
Mein Auto hatte schon vor 20 Jahren beleuchtete Knöpfe zur Bedienung! Da waren kleine Lämpchen drin.
Warum ist so etwas jetzt erwähnenwert?
Ja, und die Klingel und die Lichtschalter am 70 Jahre alten Haus meiner Eltern haben auch schon Beleuchtungen. Beleuchtete Tasten und Schalter sind sicherlich an sich ein uralter Hut. Bei Kameras ist das aber trotzdem einer Erwähnung wert, weil es dort um Miniaturtasten geht, in die man nur sehr schwierig Lämpchen hineinbekommt. Ausserdem müssen diese Beleuchtungen ausfallsicher sein, kein Fotograf will alle zwei Wochen seine Kamera zur Reparatur einschicken, nur weil von 20 Lämpchen gerade wieder eines kaputt gegangen und diese Taste dann unbeleuchtet ist. Schliesslich haben diese Lämpchen auch keine eigene Stromversorgung sondern zapfen Strom von der Batterie ab. Folglich sollten sie nur mininal Energie verbrauchen, um nicht die Akkus vorzeitig leer zu saugen. Auch das muss man also in den Griff bekommen. Vermutlich gibt es noch weitere kameraspezifische technische Probleme, an die ich hier nicht gedacht habe, für die aber eine Lösung gesucht werden muss.
Thomas, wie ich weiter oben geschrieben habe so hatte Olympus dieses Feature in einer der letzten DSLR Kameras angeboten und das vor Jahren also wird hier kein Neuland betreten sondern etwas wieder belebt.
Das manche diese große Ankündigung ins lächerliche ziehen ( mich eingeschlossen) liegt vielleicht daran das man von Canon mal was „ Großes“ erwartet und keine beleuchtete Knöpfe ?
Hallo Mirko, man kann ja das Eine tun ohne das Andere zu lassen. Canon hat doch für 2018, ich glaube sogar mehr als, eine DSLM angekündigt. Für mich klingt das nach etwas „Grossem“, vor allem wenn die DSLM auf dem EOS-Bajonett basieren würde. Oder verwechsele ich da bei den Ankündigungen etwas? Klar, Canon hat schon längere Zeit nichts mehr gebracht, was in den Medien Begeisterung ausgelöst hat. Aber selbst beleuchtete Tasten finde ich jetzt keine schlechte Sache, ich hatte erst am Wochenende im Halbdunkeln fotografiert und wäre froh gewesen, wenn ich beispielsweise an den Einstellrädern gesehen hätte, in welchem Modus ich mich gerade befinde.
@ Thomas,
erst einmal „Danke“ für den Kommentar weiter oben ?
Wie gesagt habe ich nichts gegen „beleuchtete“ Tasten und was den oben genannten „ Hybridsucher“ angeht bin ich positiv eingestellt auch wenn manch EINER es nicht glauben mag.
Natürlich bin ich auch gespannt was Canon uns nächstes Jahr bringen wird, glaube allerdings nicht das es eine DSLM wird mit EF Bajonett. Ich vermute das in Zukunft eher der Hybridsucher in der Pro Klasse Einzug halten wird.
Ich will es mal so sagen die Großen können nicht so flexibel sein, Canon kann nicht wie damals bei der Einführung des EOS System mal eben den Anschluss tauschen….Olympus konnte es, Fuji genauso…nur bei Canon hängt so viel am Bajonett. Du siehst ja selbst hier wie viele am optischen Sucher festhalten ( nicht negativ gemeint) und im Gegensatz zu Olympus,Fuji,Panasonic und Sony müsste Canon zwei Systeme pflegen und am laufen halten und das kostet …
aber lassen wir uns überraschen
Zum Hybridsucher, scheinbar hat Canon bereits 2014 das Patent eingereicht…2016 wurde das Patent veröffentlicht…also ist es gut aus möglich das 2018 die erste DSLR mit Hybridsucher auf dem Markt kommt.
Das nächste Jahr kommt sei bereit ?
@MARK,
es ist Deine Seite und Deine Regeln ….. bitte zeige mir doch bitte wo ich mal wieder nach deiner 1. Ermahnung wieder „ daneben „ gelegen haben soll ?! Ich habe entweder UserA noch User B angesprochen das sich ein User speziell angesprochen fühlt kann ich nicht ändern,so ist das nun mal bei Diskussionen.
Also bis zur meiner demokratischen Sperrung Mark
Hey Mikro! 🙂 Das war gerade nicht direkt als weitere Ermahnung gemeint, eher als Erinnerung. Bisschen austeilen ist völlig in Ordnung, vor allem wenn man von jemand anderem angemacht wird. Kann aber auch manchmal besser sein nicht zurück zu schießen, sondern sich ganz entspannt zurückzulehnen 😉 Liebe Grüße und einen schönen Abend
https://www.canonwatch.com/canon-patent-hybrid-optical-viewfinder/
hier findet ihr alle Informationen, inklusive Abbildung über den Hybridsucher – der nichts mit einem elektronischen Sucher zu tun hat, genaueres findet ihr auf dem Link .
Canon patent for hybrid optical viewfinder
March 23, 2016
Canon Patents
canon patent
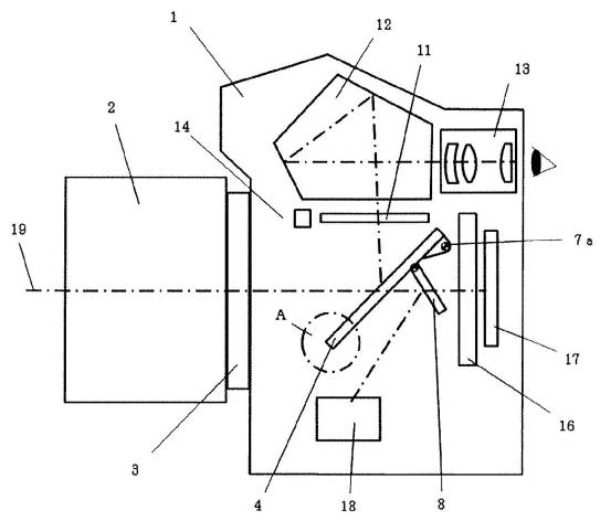
Canon patent for a new generation of hybrid optical viewfinder. The patent does not refer to an electronic viewfinder. If I got it right this is an LCD panel that overlays all sort of information on the image itself (i.e. the image transmitted through the mirror to your eyes), so you can look at your composition and in the same time check all the relevant settings.
•Patent Publication No. 2016-35525 • Published 2016.3.17
• Filing date 2014.8.4
• Canon patent • During the pentagonal prism and the eyepiece optical system, providing two optical surface inclined
• Since the light from the objective optical system is transmitted through the two optical surfaces, the photographer can observe the object
• Since the light from the display optical system reflects the second optical surface and the first optical surface, the photographer can observe the display information
• Display panel, display the shooting information at the time of the mirror-down, to display a live view image at the time of the mirror-up
Das Bild lässt sich leider nicht kopieren findet ihr aber unter dem Link
„Von Canon wurde ein Patentantrag veröffentlicht, der einen neuartigen Hybridsucher beschreibt. Hierbei kann der Fotograf zwischen einem optischen und einem elektronischen Sucher umschalten. Möglich ist es aber auch, das optische Sucherbild mit Informationen der elektronischen Anzeige zu überlagern. Gedacht ist das System für DSLRs, deren Prinzip bedingten Nachteile gegenüber spiegellosen System damit wegfallen würden.“
(Quelle:photoscala 2016)
Wie auch immer…schätze das wird das große Ereignis für 2018 sein und der Grund warum Canon bisher nicht mit FF ins DSLM Geschäft eingestiegen ist.
Joe, es handelt sich nicht um ein Patent, auch wenn Deine Quelle das behauptet. Es ist bisher lediglich eine Patentanmeldung. Eine Prüfung auf Neuheit und erfinderische Tätigkeit hat entweder noch nicht stattgefunden oder ist negativ abgeschlossen worden. Hier ist jedenfalls ein Link zur Offenlegungsschrift, der auch eine englische Übersetzung einer Zusammenfassung angefügt ist. Aus dieser geht hervor, was Canon versucht als Hauptanspruch zu beanspruchen.
https://depatisnet.dpma.de/DepatisNet/depatisnet?window=1&space=menu&content=treffer&action=pdf&docid=JP002016035525A&Cl=3&Bi=2&Ab=2&De=4&Dr=18&Pts=&Pa=&We=&Sr=&Eam=&Cor=&Aa=1&so=asc&sf=vn&firstdoc=1&NrFaxPages=33&pdfpage=1&xxxfull=1
Es existiert übrigens auch eine US-Patentanmeldung von Canon zur gleichen Erfindung. Hier wieder ein Link:
https://depatisnet.dpma.de/DepatisNet/depatisnet?window=1&space=menu&content=treffer&action=pdf&docid=US020160037090A1&Cl=28&Bi=1&Ab=1&De=18&Dr=2&Pts=&Pa=&We=&Sr=&Eam=&Cor=&Aa=&so=asc&sf=vn&firstdocFam1=2&famSearchFromHitlist=1&NrFaxPages=29&pdfpage=1&xxxfull=1
@ Dieter Müller
also die erste Quelle sagt und zeigt nichts anderes wie meine und die zweite Quelle ist eine Patentanmeldung bzw. eine sogenannte Offenlegung in den USA, so dass ein möglicher Erfinder der ähnliches erfunden hat Einspruch erheben könnte, das ist übliche Praxis.
Ich habe nirgends einen Hinweis gefunden, dass das Patent abgelehnt worden ist oder werden könnte, es scheint noch im Prüfstatus zu sein, was bei dem Umfang auch wahrscheinlich ist.
Ich habe den Anhang übrigens gelesen, der – ebenfalls wie üblich – auf eine sehr breite Patentabdeckung hinausläuft um das Umgehen des Patents zu erschweren.
Doch joe, meine erste Quelle sagt etwas anderes, denn meine erste Quelle ist eine japanische A-Schrift und damit eine Offenlegungsschrift einer PatentANMELDUNG. Deine Quelle spricht explizit von einem Patent. Das ist eben ein himmelweiter Unterschied. Gegen eine Offenlegung einer Patentanmeldung kann übrigens weder in den USA, noch in Deutschland und auch nicht in der Schweiz Einspruch erhoben werden. Das geht nur bei erteilten Patenten und dann aber wiederum auch nicht in allen Ländern. Einspruch kann auch jedermann erheben und nicht nur ein Erfinder, der etwas ähnliches erfunden hat. Somit ist es auch nicht übliche Praxis.
Wo hast Du zum momentanen Status der japanischen Patentanmeldung gesucht? Wenn Du über den momentanen Status der japanischen Anmeldung definitive Auskunft haben willst, musst Du im japanischen Patentregister nachsehen, alternativ eventuell bei einem der (kostenpflichtigen) Patent-Datenbankanbieter wie Inpadoc. Ich nehme an, das hast Du nicht getan. Dass Du nichts gefunden hast, hat somit über den Rechtsstand der Anmeldung keinerlei Aussagekraft. Die Anmeldung hat keinen unüblichen Umfang, die könnte durchaus innerhalb von drei Jahren erteilt oder zurückgewiesen sein.
P.S.: Ich bin übrigens Patentanwalt, musst mich also sicherlich nicht über das Patentrecht oder über Anmeldestrategien belehren.
@ Thomas Müller
Wenn Sie Patentanwalt wären/sind, dann hätten Sie ja Zugang zu all diesen Informationen, da sie dann ja auch bei diesen kostenpflichtigen Datenbanken abonniert wären/sind und dann könnten Sie uns über den aktuellen Stand aufklären. Also, dann mal los!
….soll ich schon mal das Popcorn rausholen? …langsam wird es lächerlich bzw kindisch ?
@Mirko
nur noch mal dass es klar gestellt ist – ich werde in Zukunft auf keinen noch so netten oder blöden Kommentar von Ihnen reagieren. Ihre Meinung interessiert mich nicht.
Joe, dann halte Dich doch einfach mal daran….?
Ach, sind wir jetzt wieder beim „Sie“? Also, ob „Sie“ mir meinen Beruf glauben oder nicht, hat für mich absolut keine Bedeutung. Ich muss „Ihnen“ also sicherlich nichts beweisen, schon gar nicht mit einer so netten Aufforderung wie „Also, dann mal los“. Sie sind hier nicht in Ihrer Schule, wo Sie Ihren Schülern Befehle erteilen können. Ich bin übrigens Patentanwalt und nicht Patentrechercheur, Patentanwälte haben üblicherweise keine Abos für all die kostenpflichtigen Datenbanken, jedenfalls nicht solche, die vor allem forensisch tätig sind. Patentanwälte kaufen sich diese Infos ein. Ich habe trotzdem zur japanischen Anmeldung nachgeschaut, die Anmeldung ist in Kraft, der Prüfungsantrag ist noch nicht gestellt (falls Sie wissen, was ein Prüfungsantrag ist?). Und nun? Wo genau hatten Sie eigentlich versucht Infos zu bekommen, wo Sie nichts gefunden hatten?
Also manchmal weiß ich nicht ob ich solche Dikussionen nun amüsant oder einfach völlig unangebracht finden soll. In jedem Fall ärgert es mich, dass ich in letzter Zeit immer häufiger eingreifen und Ermahnungen aussprechen muss.
@Thomas, du bist, wenn ich das beim Überfliegen richtig gesehen habe, der einzige der wirklich sachlich geblieben ist und interessante Zusatzinformationen geliefert hat. Danke!
@Joe, unnötige Kommentare hier von dir, die teilweise einfach provozieren sollen und unhöflich sind. Hätte ich nicht von dir erwartet, klare Ermahnung!
@Mirko, Ermahnung ging letztens schon raus an dich, bitte weiterhin darauf achten entspannt und freundlich zu bleiben.
Diskussionen beendet, danke.
Hallo Mark
ok, wenn dir meine Kommentare zu kritisch, provokativ oder zu witzig sind , dann ist das das falsche Forum für mich. Also ermahnen lasse ich mich nicht. In dem Fall wünsche ich Dir weiterhin viel Erfolg, aber ich bin dann mal weg
Joe
Hallo Joe, bedauerlich, aber dann ist das wohl so. Würde mich freuen wenn du es dir nochmal anders überlegst, ansonsten alles Gute für die Zukunft!
Hallo joe,
ich würde es auch bedauern und es schade finden, wenn Du bei Deiner Ankündigung bleiben würdest. Überlege es Dir doch noch einmal und lass´uns einen Neuanfang machen. Ich schätze Deine Beiträge, auch wenn wir hier im Strang unterschiedlicher Meinung sind.
Was Mark und seine Moderation angeht, berücksichtige bitte, dass in Deutschland der Forumsbetreiber haftbar gemacht werden kann und es alleine deshalb schon fast zwingend ist, dass ein Forumsbetreiber eingreift, wenn die Gefahr besteht, dass eine Diskussion aus dem Ruder laufen könnte. Werbepartner sehen es wahrscheinlich auch nicht gerne, wenn hier wild um sich „gehauen“ wird. Ich denke, für Marks frühzeitiges Eingreifen sollte man Verständnis haben. Auch wenn man im täglichen Leben gewohnt ist, dass man selbst andere führt, muss man in einem deutschen Forum halt akzeptieren, dass die Führungsrolle beim Moderator liegt.
Gruss, Thomas
Hallo Thomas! Korrekt, wobei ich bei uns bisher noch nie die Gefahr gesehen habe, dass eine Diskussion so sehr aus dem Ruder läuft, dass ich deswegen Probleme bekommen könnte. Ich möchte vielmehr sicherstellen, dass hier in den Kommentaren interessante und sachliche Diskussionen geführt werden können und wir allgemein einen freundlichen Umgangston pflegen. Private Auseinandersetzungen im Stile von „hat dich deine erste grosse Liebe wegen einem Canon User verlassen?“ – „Du kannst aber auch mit wenig Worten sehr viel Mist schreiben“ – „Du hast keine Ahnung, und zwar NullkommaNull-Ahnung“ – „Ich das Gefühl habe mir sitzt ein 12 jähriger Junge der gerade schmollt und bockt“ sind zwar manchmal vielleicht ganz amüsant zu lesen, müllen aber die Kommentare zu und haben überhaupt nichts mehr mit dem Artikel zu tun. So etwas möchte ich hier einfach auf ein Minimum beschränken.
@ Joe
Hallo Joe !
Heute abend habe ich auf einen Beitrag von Bernd geantwortet (A7-3) — retour kam sofort ich musste mir gleich eine Unterstellung anhören. Viele von Euch hier haben eine dünne Haut das habe ich in den 2 Wochen meines dabeiseins gemerkt, manches fand ich auch nicht stilgerecht und dem Niveo dieser Seite nicht entsprechend. Ich als älterer Landwirt bewundere eure Fachkenntnis und die Leidenschaft für mein und euer Hobby, ich habe mich nie so intensiv damit beschäftigen können, ich war froh mal die Zeit für ein paar gute Bilder zu haben. Der Betrieb ging vor und 30 Jahre Ehrenamt zwischen Kassel und Bremen mit meinen Artgenossen – glaub mir – ging manchmal bannig auf den Geist ! Meistens konterte ich mit Humor und manchmal auch mit guten Argumenten, manchmal habe ich die Klappe gehalten um des lieben Friedens willen, aber manchmal hatte ich auch unrecht. Wenn die Diskussion hitzig wird bedarf es einem Leiter wie beim Bundestag mit seinem Präsidenten!!! So ist das nun einmal im Leben man muß auch einstecken lernen. In der kurzen Zeit meines dabeiseins habe ich besonders Dich und Thomas als nicht nur fachlich sondern auch umgängliche Fotofreunde kennengelernt. Technisch kann ich nicht mehr so mithalten aber Neuigkeiten und Diskussion interessieren mich immer – in diesem Sinne freue ich mich auf weitere Kommentare von Dir, steh drüber-verlier den Humor bloß nicht und mach weiter den Mund hier auf …… Gruß – Gustav
@ Joe
Hallo Joe
Ich hab noch was vergessen – Du wirst Einzelne hier oft niemals irgendwie überzeugen können auch wenn Du noch so recht hast – denk daran “ Der Klügere gibt nach “ und lass sie in ihrem Selbstbewusstsein ersticken mit Nichtbeachtung strafen
So ein Hybridsucher hätte schon was!
Wenn man das weiterspinnt und ich kann Zebra auf den EVF legen [ der mittels mocap das Ziel
weiter im Feld/Focus-schärfen-ebenen hält und der OVF ist in eine Millisekunde umgeschaltet, dann fallen mir schöne Szenarien ein… Wäre toll, wenn das Teil serienreif würde.
Ps muss man in einem ollen Kameraforum immer seinen Lebensmittelhinweis samt Urinprobe abgegeben, oder ist das ein Defekt den Deutsche manchmal haben? Egal ob das eine Kamera ist oder…vergiss es. Mein Tipp: BAU DIR DIE KAMERA SELBER… 120.000 Euro später und einem Tritt in den ( Kik)as(starta) dann doch in den Mediamarkt. LOL
Muss man in einem ollen Kameraforum anderen vorschreiben wollen, was die schreiben dürfen und was nicht, oder ist das ein Defekt, den manche Deutsche haben? Genau so, wie der Defekt, versuchen witzig zu sein, was dann gerade bei solchen Leuten regelmässig voll in die Hose geht und auch durch ein kindisches LOL nicht mehr zu retten ist.
@ Thomas
Klasse Antwort !! Ist doch interessant was sich welche Leute unter einem Forum vorstellen.
Interessant. Beleuchtete Buttons auf der Rückseite des Bodys wären schon wünschenswert, gerade wenn man fotogtrafisch oft in der Dämmerung oder Nachts unterwegs ist. Hier geht zwar auch die Steuerung über den Live-View, aber alles was hilft sich zurecht zu finden ist gut 😉
Ich denke die Chancen einer Umsetzung in einigen Modellen stehen gut
Auch der Hybrid-Sucher klingt interessant. Anders als bei den beleuchteten Buttons bleibt meiner Meinung aber abzuwarten, ob das nicht einfach nur ein Patent zum Blocken von Rechten und Zurückhalten von Mitbewerbern ist. Ich fände es toll wenn er kommt, kann mir aber vorstellen, dass die Anmeldung nur deshalb erfolgte um einfach einige Entwicklungszeit der R&D Abteilung zu sichern ohne konkrete Pläne einer Umsetzung.
Da es hier ja um beleuchtete Tasten und Hybridsucher geht….
Das ist ja toll von Canon, so etwas „abgegriffenes“ zu bringen. Andere haben das, Canon noch nicht.
Die sollten sich mal ein Bsp an Nikon nehmen…. abgeschrieben und dann die D850 auf den Markt geschmissen.
Das ist eine Trumpfkarte. Das sollte Canon ausspielen.
Und nicht so ein Tam Tam um Beleuchtung und Hybridsucher machen, das bringt man als Kamerahersteller nebenbei !! Wenn man so etwas schon feiern muß, dann gut Nacht.
Olympus, Fuji und co laufen hier mal nebenbei Canon lautlos davon.
Sony kontert auf sein Art und holt mächtig auf
So viele Leute kaufen keine Kameras mehr, die haben ihr Schmartfone. Der Markt schrumpft eben.
Also lassen wir uns überraschen was bei den Modellen 2000-4000 so drinsteckt.
Tam-Tam von Canon? Bisher hat Canon still und heimlich für die beleuchteten Tasten und den Hybridsucher Patentanmeldungen eingereicht, mehr nicht. Worin genau besteht denn dabei das angebliche Tam-Tam? Es ist ja auch nicht so, dass beleuchtete Tasten und ein Hybridsucher bereits Standard wären. Canon ist lediglich nicht der erste Hersteller mit diesen Technologien, was aber kein Grund ist, komplett darauf zu verzichten oder keine Verbesserungen und eigene Lösungen dafür vorzusehen. So langsam wird die Kritik an Canon schon übertrieben und irreal.
@ Thomas
…Tam-Tam von Canon? Bisher hat Canon still und heimlich für die beleuchteten Tasten und den Hybridsucher Patentanmeldungen eingereicht,..
Das Tam Tam bezieht sich auf die Herausgabe einer Kamera im 21 Jhd. mit beleuchteten Tasten und Hybridsucher. Das ist zu wenig, einfach zu wenig für ein große Firma.
Für eine Hinterhof-Firma wäre das vielleicht ein Erfolg, aber nicht für Canon. Zumal die Konkurrenz viel besser aufgelegt hat.
Das man darüber noch reden muß….
@Volker: Niemand weiss doch bisher, welche (weiteren) Specs die neue(n) Kamera(s) von Canon haben werden. Es ist noch nicht einmal bekannt oder von Canon zumindest angedeutet, ob die in den beiden Patentanmeldungen beschriebenen Technologien überhaupt in einer Kamera realisiert werden. Bisher gibt es von Canon dazu rein GAR KEINE AUSSAGE! Sich einfach still zu verhalten kann nach meinem Verständnis kein Tam-Tam sein. Oder weisst Du über von Canon angekündigte Specs etwas, was wir nicht wissen?
Volker, den Tam Tam sehe ich auch nicht, zwar belächle ich auch die beleuchteten Knöpfchen aber den Hybridsucher finde ich ist eine tolle Sache und zeigt das Canon an der eigenen Zukunft arbeitet. Eine Kamera auf dem Markt zu bringen die vollgestopft ist mit allen was geht ist für mich keine Innovation. Vielleicht gesteht sich Canon ein „ Spiegellos“ sind wir hinten dran aber wir liefern unseren Kunden ein Hybridsystem und vereinen so die Systeme. Was wird von Nikon kommen, eine Spiegelose mit F Bajonett?
Da frage ich mich wenn das so einfach ist warum haben Olympus und Co nicht einfach ihr altes Bajonett weiter verwendet, sind sie einfach zu dumm ?
Hallo Mark Göpferich
auf dieser Seite steht unten rechts Werbung von maramos.net – Das scheint ein Fakeshop zu sein ! ! !
Als ich auf dieser Seite war, bezügl der Sony 6000 zu 549 Euro mit 2 Objektiven habe ich erfahren, das schon Kunden hinters Licht geführt worden sind.
s. folgende… unter onlinewarning.de zu karamos
Aktuell sorgt der Onlineshop karamos.net / karamos.eu für Aufsehen im Netz. Unsere Leser haben gefragt, ob es sich um einen seriösen Webshop oder einen Fakeshop handelt. Da das auf den ersten Blick oft nicht erkennbar ist, haben wir die Webseite einer Sicherheitsanalyse unterzogen.
Welche Probleme gibt es auf karamos.net / karamos.eu?
Bei der Überprüfung der Onlineshops schauen wir uns natürlich auch den Server an, auf dem die Webseite gehostet ist. Hier finden wir oftmals Adressen von Onlineshops, über die wir bereits berichtet haben. So konnten wir auf dem Server neben karamos.net / karamos.eu, auch die Shops hitech24.net, coomio.de und expresshaus.net finden. Über diese Onlineshops haben wir bereits in der Vergangenheit berichtet. Alle Webseiten haben mehrere wirklich auffällige Gemeinsamkeiten. Bei der Registrierung werden wiederkehrende Daten genutzt.
So sind das Bundesland Baden-Württemberg und die Städte Oldenburg und Zwenkau bei den Anmeldern beliebt. Auch die Grafstraße hat es den Hintermännern scheinbar angetan. Hier kann man ein eindeutiges Muster erkennen. Diese Onlineshops scheinen von ein und denselben Cyberkriminellen betrieben zu werden. Lesen Sie in unserem Faktencheck, was wir über karamos.net / karamos.eu für Sie herausgefunden haben.
Faktencheck für karamos.net
Die angegebene Umsatzsteuer – ID (DE233839241) ist ungültig.
Der Server von karamos.net steht in den Niederlanden. Für einen seriösen Onlineshop im deutschsprachigen Raum ist dies ungewöhnlich.
Die Domain von karamos.net ist auf eine Privatperson in Deutschland registriert. Die Adresse (Grafstrasse 15, 04442 Zwenkau) ist frei erfunden.
Die bei der Registrierung der Webseite angegebene Telefonnummer (+49.17767839182) ist nicht vergeben.
Bestellte Ware können Sie nur per Überweisung, also per Vorkasse bezahlen. Sie tragen das alleinige Risiko.
Die im Onlineshop beworbenen anderen Zahlungsmethoden (Kreditkarte, PayPal, Klarna) sind während der Bestellung nicht wählbar.
Es fehlen Käuferschutzsiegel wie beispielsweise Trusted Shops.