Dieses Gerücht ist… außergewöhnlich. Canon arbeitet angeblich an einem Konverter, der eine DSLM in eine DSLR verwandeln kann.
Das Problem mit den unterschiedlichen Systemen
Der Wechsel von der klassischen Spiegelreflexkamera hin zur spiegellosen Systemkamera stellte für Canon & Co. eine große Herausforderung dar. Wie löst man das Problem mit unterschiedlichen Bajonetten? Wird man in Zukunft primär auf DSLRs oder auf DSLMs setzen? Wie bindet man die Nutzer weiterhin an die eigene Marke, auch wenn sie komplett neue Objektive für spiegellose Systemkameras kaufen sollen?
In den letzten Jahren gab es verschiedenste Szenarien und inzwischen wissen wir ja, wie sich Canon entschieden hat. Die EOS R ist mit einem komplett neuen Bajonett ausgestattet, alte Objektive können allerdings dank eines Adapters weiterverwendet werden. Zudem gibt es noch die EOS M Kameras – ebenfalls mit eigenem Bajonett.
Konverter könnte DSLM in DSLR verwandeln
Nun hat ein großes japanisches Magazin einen Bericht veröffentlicht, der zwei interessante Informationen enthält. Zum einen wird Canon angeblich erst im Jahr 2021 eine DSLM für professionelle Sportfotografen auf den Markt bringen – damit haben wir uns bereits in diesem Artikel beschäftigt. Zum anderen berichtet das Magazin, dass Canon an einem Konverter arbeitet, der in der Lage sein soll, eine DSLM in eine DSLR zu verwandeln:
„We are also developing a converter that can join a mirrorless camera to an interchangeable lens for a single lens reflex camera.“
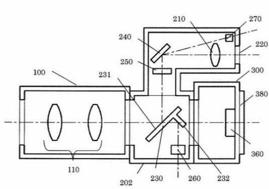
Klingt verrückt? Definitiv. Doch wenn man ins Jahr 2018 zurückblick, dann findet man dort ein Patent, welches genau diesen Konveter zeigt. Es handelt sich gewissermaßen um einen „Vorbau“, der eine spiegellose Systemkamera um eine Spiegelbox, einen optischen Sucher und ein anderes Bajonett ergänzt. Dieser Vorbau, der vorne an einer DSLM angebracht werden kann, sieht auf dem Patent folgendermaßen aus:
Fragt mich nicht, wie genau ein solcher Konverter funktionieren würde und was Canon damit vorhat – ich weiß es nicht. Wenn ich einen optischen Sucher und EF-Objektive benutzen möchte, dann bleibe ich doch einfach bei einer DSLR. Eine EOS R kaufen, um dann den Konverter vorne dran zu setzen und doch wieder eine DSLR zu erhalten, das erscheint mir irgendwie nicht so sinnvoll. Und wenn es nur darum geht, EF-Objektive an der EOS R zu verwenden, dann gibt es dafür ja den ganz normalen Objektivadapter.
Ich bezweifle ehrlich gesagt, dass ein solcher Konverter jemals auf den Markt kommen wird, auch wenn das in dem Bericht des japanischen Magazins etwas anders klingt.
Könnt ihr euch einen Szenario vorstellen, in dem ein solcher Konverter wirklich nützlich wäre?



Ich habe einen Vorteil gefunden: bei einer langen Beobachtungszeit von Objekten, z.B. Vögel oder beim Sport, wird kein Strom verbraucht, wenn ich durch den Sucher schaue.
Power Bank anschließen?
Wie war das mit Sonys LA-EA4? Von DSLT zu E. VIelleicht will Canon ähnliches versuchen, nur ob in einen Adapter ein Spiegelsucher hineinpasst, dürfte wohl sehr fraglich sein.
Einfach nur irre.
Was müssen die für eine Panik schieben.
Genau, PANIK ist ein schlechter RATGEBER.
Für mich macht das rein garkein Sinn.
Technisch sehr wahrscheinlich der schlechtere Kompromis als der vorhandene Konverter.
Der Nutzen wäre, dass man eine Spiegellose mit ihren Vorteilen (Kompaktheit, Gewicht) nutzen kann, aber auch mit den Vorteilen einer DSLR (z. B. fürs Fotostudio) verwenden kann. Man braucht also nicht unbedingt zwei Kameras, um die jeweiligen Vorteile zu nutzen. Desweiteren wird dieser Vorbau sicher auch als Objektivadapter von EF auf R fungieren können. Damit hat man dann eine große Objektivauswahl. Gibts schon, klar, aber man braucht dann ja nicht unbedingt zwei Adapter. Sicher ist das Teil vor allem dazu da, eingefleischten Canon DSLR-Nutzern den Einstieg in die Spiehellosen zu erleichtern. Denn irgendwann werden wohl DSLRs zumindest stark in Bedrängnis kommen, wenn nicht sogar ganz aussterben. Wird sicher auch bei Canon in Erwägung gezogen.
Canons Produktpolitik ist nicht nachvollziehbar. Nicht erst seit dieser „Idee“ – vorausgesetzt aus dem Gerücht wird wirklich eine Umsetzung.
Das ist doch ein alter Hut – der hieß bei Leica in den 50er Jahren »Visoflex«
Und der passt heute noch an alle Spiegellosen – siehe
https://flic.kr/p/7g2Vgi
https://flic.kr/p/7g6QAE
https://flic.kr/p/6VYcMJ
Genau diese Antwort! Danke. Ohne Visoflex waren die Sucher-Leicas im Telebereich (über 135mm Brennweite) und im Macrobereich nicht sinnvoll nutzbar (wegen präziser Fokussierung und richtigem Bildausschnitt lässt sich der ansonsten geniale Schnittbildsucher dort nicht nutzen). Mit einem M-Viso Adapter lässt sich beispielsweise das extrem leistungsstarke (Makro-) Elmar 1:3.5/65mm auch heute noch wunderbar an modernen Digitalsystemkameras nutzen.
q. e. d. – genau das is ja auf den Fotos zu sehen 😉
Für mich eine sehr gute Lösung. Meines Erachtens ist es sehr einfach. Da ist ein Kamera Modul ohne einem Objektiv Anschluss in dem der Sensor mit Verschluss und den sonst nötigen elektronischen Bauteilen einschließlich Akku verbaut ist. (wie die Sigma fp aber ohne Bajonett) Daran kann der Kunde je nach Bedarf einen EVF oder Prismensucher mit dem benötigten EF, EFs, RF oder M Bajonett einsetzen. Allen ist elegant geholfen. Der Kunde könnte wenn er beide Sucher erwirbt je nach Anforderung sehr flexibel mit einem einzigen Kamera Modul arbeiten.
Diese Lösung habe ich schon vor einem Jahr hier beschrieben, wurde aber nie ernst genommen. Canon hat anscheinend schon länger darüber nachgedacht. Weil sie schnell eine Spiegellose für den Verkauf brauchten und in der Zwischenzeit die einfachste Lösung mit den bekannten Nachteilen gewählt haben.
Das könnte auch mit ein Grund dafür sein das weiterhin zusätzlich neue DSLR zu den ebenfalls neuen DSLM angeboten werden. Das würde wieder Sinn machen.
Ein sehr interessantes Gerücht, muss ich schon sagen!
Hallo Alfred,
Das geht genau in die richtige Richtung.
Was würde ich mich fragen?
Technologische Entwicklung, Zielgruppen, was Kunden wollen etc. – also die klassischen Fragen.
Im Detail steht aber auch für mich als Kunde so etwas wie Konstanz und Verlässlichkeit dahinter, nicht in eine Sackgasse zu investieren. Bei dem Wechsel von analog zu Digital ist es vermittelbar, wenn das Gesamtsystem sich so verändert, dass man quasi von vorne anfangen muss.
Nur mit dem Wegfall des Spiegels, ist das nicht ausreichend vermittelbar, zumal, wenn die neue kaum oder nur unwesentlich kleiner und schon gar nicht preiswerter wird.
Die Idee, beide Welten über einen cleveren Baukasten zu verbinden – finde ich klasse.
Und diejenigen, die es nicht brauchen oder wollen – die Welt und Anzahl an Alternativen im nächsten Fotoladen ist ja mehr als ausreichend.
Man muss es nicht gut finden aber auch nicht gleich wieder zerreißen. Lasst den Ingenieuren ihren Raum sich zu beweisen. Es bringt uns weiter und jeder von uns kann dann entscheiden.
Das Problem dabei, Canon beschreibt in seiner Patentanmeldung gar nicht, was Du hier beschreibst. Canon will eine alleine voll funktionsfähige DSLM mit EVF und eigenem Objektivbajonett durch einen vorgeschalteten Klappspiegel-Adapter zusätzlich in eine DSLR ergänzen. Es geht also nicht um entweder EVF oder OVF sondern um EVF alleine oder EVF plus OVF plus einem dem Kamerabajonett vorgeschaltetes Objektivbajonett als an die DSLM angesetzte Adapterlösung.
Wenn bei einem Hallenturnier der Kopfball kommt, hätte ich gerne so etwas wie Panasonics „Pre-burst“- oder Olympus „Pre-Caption“-Funktionalität in einer Vollformatkamera, bei der ich später im klassischen Konzert geräuschlos aufnehmen und anschließend bei der großen Party ohne Blitz die Tanzenden ablichten kann. Was der Sucher zeigt, ist mir weniger wichtig, als dass das Bild so belichtet ist, wie iches mit dem bloßen Auge bzw durch den Spiegelsucher sehe. Entweder die Kameras fangen endlich an, richtig zu belichten oder es muss eine Variante her, bei welcher ich mir im Spiegelsucher das zu erwartende Bild einblenden kann. Dann wäre eine Hybridkamera durchaus sinnvoll, wenn der Preis auch für Normalsterbliche bezahlbar wäre.
Wirklich unverschämt, dass Kameras nicht richtig belichten – geht übrigens für Ungeübte ideal im Automatic-Modus und ansonst liegt es am Fotografen!
Ok, bei Reisefoto-Tageslicht-Knipserei und im Studio magst du Recht haben joe, aber bei den oben genannten Situationen ist es nicht so einfach. Nimm mal ein Feuerwerk auf, oder ganz einfach Sport bei Sonne mit Bewölkung, mit langen Schatten von Bäumen gegen Abend über das halbe Spielfeld, da sieht die Welt ganz anders aus. Und da wäre so ein Hybrid-Teil in der Tat eine recht praktische Lösung.
@Tom de Lux
Ich habe hunderte von Feuerwerksfotos, Frei Hand noch mit meiner 5D II gemacht, und die sind fast alle sehr gut geworden, zumindest liegt die Quote nicht tiefer als bei Tageslichtaufnahmen. Es gehört halt ein bisschen ausprobieren dazu und dann hat man die richtigen Einstellungen. Viele Dinge klappen nicht beim ersten Mal.
Stell Dir mal vor Du nimmst deine Kamera und richtest sie in die Richtung des zu fotografierenden Objektes und das Bild kommt dann automatisch so raus wie du es dir vorgestellt hast und falls nicht kannst du es im Nachhinein durch eine Software laufen lassen, die dann ebenfalls automatisch die gewünschte Änderung vornimmt. Wäre das toll? Für viele ja, für mich nein, denn das ist dann nicht mehr MEIN Foto und dann interessiert mich fotografieren auch nicht mehr.
@ joe
Du bist ja echt ein ganz Toller. Zurück zum Thema: Ich fände einen DSLM/DSLR-Konverter für MEINE Verhältnisse wirklich interessant! Mal schauen, ob und womit Canon uns überraschen kann ;o)
Ich denke, „man braucht nicht unbedingt zwei Kameras“ ist kein gutes Argument in einer Zeit, in der man selbst gute Vollformatkameras um und gar unter 1.000 EUR bekommen kann, und wirklich gute Kameras mit Cropsensoren noch viel billiger sind.
Kategorie: Dinge, die die Welt nicht braucht!
Ist denn schon der 1. April?
in dieser Kategorie könnte ich aber eine Menge aufzählen – wenn es nur Dinge gäbe die die Welt braucht, dann hätten wir kein Umweltproblem!
Ein Konverter, der eine DSLM in eine DSLR verwandeln kann …
ich lach mich kaputt! Naja, vermutlich gibt es genügend Idioten, die auf so etwas reinfallen.
Wieso nicht gleich eine DSLR? Ist massiv günstiger, braucht keinen Konverter und ist qualitativ nicht schlechter …
Vielleicht wäre ja ein Konverter, der eine DSLM in eine analgoge Spiegelreflex umwandelt, noch eine Marktlücke, oder etwa nicht?
Canon hat bei Kameras viel auf zu holen, mal schauen was am Ende sinnvoll und nützlicher als bei der Konkurrenz ist.
Für ein besseres Sucherbild. Vielleicht glaubt man, dass die elektronischen Sucher nicht an einen Prismensucher herankommen kann. Ich habe beides und finde, es ist ein Problem. Denn in Wirklichkeit leuchten die Bilder nicht.
Für mich sind ein Teil der Kommentare eher der Sorte nicht hören und nicht sehen wollen zuzuordnen, denn ich glaube einfach nicht daran das mangelndes Denkvermögen die klare Sicht auf eine gute Idee vernebelt.
Es geht auch nicht darum welcher Hersteller besser oder schlechter ist, es geht um die Lösung eines Problems das Canon, Nikon, oder zukünftig Pentax in gleicher weise beschäftigt. Auch darum den treuen Kunden zu überzeugen das Kontinuität und Zukunft sehr wohl zusammen passen.
Die Übersetzung ist sehr schlecht gewählt denn es müsste Wechsel Modul und nicht Adapter heißen.
Hallo Alfred,
Nun sind wir wohl doch die beiden Idioten, die gerade darauf reinfallen, wenn ich es ein kleines Stück höher richtig gelesen habe.
Nun ja, ich bleib trotzdem dabei und warte auf die konkrete Technik. Canon trau ich was zu, allen Unkenrufen zum Trotz.
Hmm, wieso ist die Übersetzung schlecht gewählt, wenn Canon in seiner Patentanmeldung JP 2018-005126 A selbst von „Adapter“ spricht? Laut der englischen Übersetzung des japanischen Patentamts handelt es sich beim Anmeldegegenstand um:
„An adapter 201 having an optical finder is mounted on a camera body 300 which has no optical finder on which an interchangeable lens 100 with different flange back is attached. The adapter 201 includes: a finder 220; and a reflection member 230 for guiding a light flux to the finder 220.“
Laut Canon selbst soll damit folgendes erreicht werden:
„To provide a mirror-less camera having an optical finder capable of preventing generation of resolution degradation and/or display delay time“
Mit anderen Worten, Canon sieht den Zweck dieses Adapters for allem darin, mit einem OVF eine mangelnde Auflösung eines EVF oder Monitors und deren Zeitverzögerung in der Darstellung der Realität zu verbessern bzw diese Nachteile zu vermeiden. Warum man aber einen teuren Adapter mit eigenem DSLR-AF vorsieht, anstatt einen hochwertigen EVF zu verbauen, der diese Nachteile erst gar nicht hat und trotzdem deutlich günstiger sein dürfte, erschliesst sich mir nicht. Letzteres kann aber auch an meinem „mangelnden Denkvermögen“ liegen …….
Ich meine die Übersetzung vom japanischen Original in die englische Sprache. So etwas kann (bisherige Erfahrungen) je nach Übersetzer, gemeint ist ob der selbige technisch gebildet war, gewaltig in die Hose gehen. Bei über 600 japanischen Schriftzeichen ist das schnell einmal passiert !
Hallo Thomas Müller,
Wie sinngemäß unklar die Übersetzung ist zeigt der Satz (mit einem OVF eine mangelnde Auflösung eines EVF oder Monitors und deren Zeitverzögerung in der Darstellung der Realität zu verbessern bzw diese Nachteile zu vermeiden).
Im Grunde geht es darum das ein „hinterleuchtetes“ elektronisch erzeugtes Bild niemals die „reale“ Bilddarstellung eines optischen Suchers erreichen wird. Beide haben Vor und Nachteile. Durch den Modul Wechsel entscheidet der Fotograf A wie er sehen möchte und B welche Objektiv Reihe er verwenden will.
Weil ich mich über despektierliche Äußerungen manchmal ärgere kann es auch bei mir Aussetzer geben. Entschuldigung dafür.
Hallo Alfred,
wir „ticken“ mit unseren Reaktionen auf die ein oder andere Äusserung anscheinend sehr ähnlich. Ich kann Dich gut verstehen, dass man dann vielleicht auch mal etwas über´s Ziel hinausschiesst. Du hast es nun erklärt, dass Du damit eigentlich niemanden provozieren wolltest, aber genau das habe ich für mich empfunden. Nachdem dies nun geklärt ist, können wir ja wieder zur Diskussion über die Canon-Lösung zurückkommen.
Bei der von mir zitierten Übersetzung handelt es sich um eine vom japanischen Patentamt (wie für alle neuen japanischen Anmeldungen) zur Verfügung gestellten Übersetzung der Originalzusammenfassung und der sogenannten Aufgabe, die laut dem Anmelder mit der Erfindung gelöst werden soll. Das japanische Patentamt liegt mit seinen Übersetzungen erfahrungsgemäss meistens richtig, denn die Übersetzungen werden nicht von irgend welchen Feld-Wald-Wiesen-Übersetzern angefertigt, die heute Kochrezepte, morgen Strickanleitungen und übermorgen technische Kamerabeschreibungen übersetzen. Man kann deshalb davon ausgehen, dass die Übersetzung sehr genau das treffen, was auch das Original aussagt.
So wie es beschrieben wird, klingt es recht aufwändig. Für die schmale Mark wird so ein „Adapter“ sicher nicht zu haben sein. Würde bestimmt im oberen dreistelligen liegen. Ob das dann noch interessant ist?
„Könnt ihr euch einen Szenario vorstellen, in dem ein solcher Konverter wirklich nützlich wäre?“
Ja und zwar wenn Canon die EF-Reihe einstellt. Es wird wahrscheinlich noch weiterhin Leute geben, die auf einen Spiegel nicht verzichten wollen. Genau für die wäre dann ein solcher Adapter denkbar.
Denke aber eher, dass sie sich das Patent sichern wollen, falls jemand auf die Idee kommt sowas zu produzieren.
Im Ernst: will Canon wirklich zur Technik des letzten Jahrhunderts zurück? Wir haben 2019, die Technik jetzt und sicher noch einige Zeit heißt spiegellos, ohne aufwändige und empfindliche Mechanik.
Canon nicht aber ich kann mir vorstellen, dass es ein paar altbackene Fotografen geben wird, die noch in 10 Jahren Spiegelkameras verlangen. Die gibt es ja auch heute noch.
weiter oben war von „Zeitverzug“ die Rede – und genau das ist heute immer noch ein Problem. JEDE digitale Verarbeitung bringt eine Zeitverzögerung mit sich, und es gibt Situationen, in denen das eben einfach nicht geht.
Optic rules …
Fragt mal Leute, die schnelle fliegende Vögel z. B. fotografieren.
Ich hab diesen Sommer mit einigen gesprochen, die z. B. die aktuellen Z-Modelle ausprobiert hatten im Vgl. zu den „alten“ D-Modellen (Nikon) – Ausschuss ein Mehrfaches …
Endlich mal was innovatives von Canon … auf die Idee ist noch keiner gekommen … berechtigter Weise 🙂
Aber vielleicht kaufts ja wer.
Ich hatte zuerst gedacht das ich mich verlesen habe und gedacht das man einen Konverter bauen wollte wie damals als man von FD zu EF gewechselt ist.
Nämlich durch eine Linsengruppe im Konverter ein RF Objektiv an den EF Anschluss passen kann.
Was auch eine Sinnvollere Idee ist als dieser Spiegelklumperquatsch.
na ja ob das, wenn es denn wirklich so mal kommt, der hit wird wage ich auch zu bezweifeln…
was ich grundsätzlich aber gut fände wer ein digitales rückteil was man an einen DSLR oder an einen DSLM Body stecken kann. wäre insofern auch spannend da man ggf. sich einmal für ein MP monster oder eben für eine schnelle variante entschieden kann.
Äh, was ist ein Digitales Rückteil? Das „D“ steht für Digital in der Bezeichnung. DSLR !
Wenn es eine Verbindung geben könnte, um elektrischen und optischen Sucher zu kombinieren, dann macht das sehr wohl Sinn. Vielleicht bleibt es ein Traum, vielleicht überrascht uns Canon ja doch noch einmal mit mehr als einem update.